Выбор из нескольких характеристик
Соединение
Диаметр, мм
Соединение
Диаметр, мм
Краны шаровые используются в качестве запорных устройств на трубопроводах для перекрытия потока жидкости и отключения отдельных участков трубопровода для осмотра и ремонта.
Краны шаровые рекомендуются для установки в санитарно-технических системах на объектах коммунального хозяйства, а также на магистральных трубопроводах наружных сетей.
| Параметр | DN 15 | DN15 | DN20 | DN20 | DN25 | DN32 | DN40 |
| Диаметры: | |||||||
| - нормальный, мм | 15 | 15 | 20 | 20 | 25 | 32 | 40 |
| - эффективный, мм | 15 | 15 | 17,5 | 17,5 | 24 | 30 | 37 |
| Обозначение по таблице фигур: | 11Б27п5 | ||||||
| - для рабочих сред кроме газа | |||||||
| Резьбы присоединительных муфт: | G1/2-B | G3/4-B | G1-B | G1 1/4-B | G1 1/2-B | ||
| - D (с 2-х сторон) | G1/2-B | G3/4-B | |||||
| - D и D1, дюйм | G3/4-B | G1-B | |||||
| Масса, кг, не более | 0,23 | 0,26 | 0,3 | 0,33 | 0,52 | 0,7 | 1,1 |
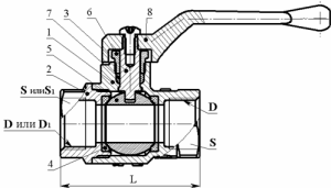
| Строительная длина, L, мм, не более | 52 | 58 | 60 | 62 | 70 | 83 | 89 |
| Размер "под ключ", S (S1), мм | 27 | 27 (32) | 32 | 32 (41) | 41 | 48 | 55 |
Кран шаровый — полнопроходной.

|